




相關產品視頻:500風量DOP高效送風口
由于DOP液槽高效送風口主要用于GMP制藥廠潔凈室高效送風,制作結構復雜,價格昂貴,如果不是藥廠可選用普通新型高效送風口。
普通新型高效送風口主要有:
外形尺寸:W1018*D534*H210
無隔板高效過濾器:968*484*80
法蘭Φ300mm;
手動調節閥Φ300mm
風量2000m3/h;
以上尺寸為頂部送風,咨詢、訂購時請注明,側送風為W1018*D534*H400 mm

【產品視頻】


配置說明:
1、一套高效送風口含法蘭、靜壓箱體、散流板、高效過濾器四件套(四件套可參考:高效送風口四件套),散流板采用冷軋鋼板烤漆制作,靜壓箱體采用鍍鋁鋅板制作,法蘭及調節閥采用鍍鋅板制作;
2、配無隔板高效空氣過濾器:效率99.99%@0.3um,玻璃纖維濾紙,初阻力:140pa。

【產品視頻】



在潔凈室設計、施工中您可能還需要500、1000、1500風量的高效送風口:
]]>下面以圖文形式展現一組高效送風口四件套產品。

說明:
1、靜壓箱材質可選不銹鋼、冷板烤漆、鍍鋁鋅板;
2、散流板可選不銹鋼、冷板烤漆。

說明:高效過濾器分為有隔板高效、無隔板高效(常規型高效送風口專用!)

說明:調節閥分為圓形和方形2種。
推薦了解更多更詳細的高效送風口產品資料:
]]>主要應用于各行業潔凈室、無塵車間、凈化車間、實驗室等空氣凈化系統末端空氣過濾。

高效送風口過濾器按制作形式分類:
有隔板高效空氣過濾器(產品詳情可參考:有隔板高效空氣過濾器)
無隔板高效空氣過濾器(產品詳情可參考:無隔板高效空氣過濾器)
1、常見的幾種高效送風口過濾器(制作形式:有隔板):


注:以上兩種是常見的有隔板高效過濾器,另外還有外框是鍍鋅框、不銹鋼框的兩種,訂購時需注意!
2、常見的幾種高效送風口過濾器(制作形式:無隔板):

注:無隔板高效過濾器規格一般為320*320*80,484*484*80,610*610*80等等。
3、常見的幾種高效送風口過濾器(制作形式:液槽式無隔板-藥廠專用):

產品詳情:液槽式高效空氣過濾器
目前市場上常用的就以上幾種,如有特殊要求,可以聯系我們哦,我們將熱誠為您服務!
也可以了解一下幾款常用的高效送風口:
]]>制藥廠GMP潔凈車間專用!同時廣泛應用于醫院、生物制藥、半導體、液晶制造、精密機械、光學等技術領域。

液槽DOP高效過濾器產品介紹:
1、外形美觀、節省空間;
2、運行成本低;
3、重量輕,易安裝和更換;
4、使用壽命長;
5、法蘭內灌液槽果凍膠,環保,密封可靠;
6、密封技術好;
7、刀架式框架的最佳拍檔。
了解產品詳情:液槽式高效空氣過濾器

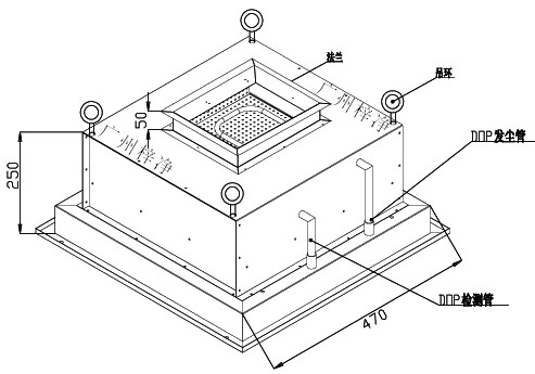
液槽DOP高效送風口|液槽DOP送風口產品介紹:
產品組成:
四件套–靜壓箱+液槽高效過濾器+散流板+調節閥。
調節閥材質:鍍鋅板或不銹鋼板
調節閥結構:手動或下調式調節閥
調節閥款式:方形或圓形
液槽過濾器:側液槽或頂液槽
靜壓箱:冷板烤漆或不銹鋼
附件:DOP發霧管、壓差管、檢測管
散流板材質:冷板烤漆或不銹鋼

箱體結構:
箱體主要采用冷軋鋼板已焊接的方式連接,且所有的焊接都經過特殊的膠密封處理,以防止空氣泄漏。散流板以固定螺栓所固定,安裝及拆卸較為方便,更換過濾器時,可直接在天花底部進行操作,而無需拆除天花板系統上的箱體。
過濾器框架:
過濾器的框架通過箱體四周的過濾器壓件所支撐固定,為方便更換過濾器,所有過濾器壓件能自由旋轉。并可防止空氣通過倒行框架泄漏及箱體刀邊滑出過濾器框架膠槽。
液槽密封設計:
與液槽密封高效送風口配套使用的過濾器的框架周圍有密封膠槽。在安裝過程中,裝有密封膠槽與箱體四周的刀邊相嵌套形成氣密密封。且在更換過濾器的過程中密封膠不會黏著在箱體四周的刀邊上。
液槽DOP高效送風口|液槽DOP送風口規格型號尺寸:

液槽DOP高效送風口|液槽DOP送風口和普通高效送風口的區別?
高效送風口一般分有普通高效送風口和液槽DOP高效送風口。
一般普通潔凈車間用的是普通高效送風口帶有隔板或無隔板高效空氣過濾器。
而GMP要求的高效送風口是要帶檢測的液槽DOP高效送風口,配有液槽式過濾器,密封性更好。
液槽式高效送風口的箱體表面采用的是靜電噴塑處理,耐腐蝕性強,液槽密封設計進一步增強了這種送風口的獨特性。
??普通高效送風口推薦了解:
]]>
可更換一體化高效送風口產品特點:
1、陽極處理鋁型材箱體材質,重量輕,方便搬運安裝,適合安裝于鋁合金龍骨形式的潔凈室中。
2、一體流線形鍍鋅鋼板進風接管,進風接管直徑可選φ250,φ300,φ350。
3、高效過濾器與靜壓箱做成一個整體,可在靜壓箱的進風口處配置調節閥調節送風均勻度和靜壓效果。
4、過濾器采用可更換式設計,不需連同箱體更換,降低成本,節省資源。
5、特殊免用工具濾網固定片,直接從室內更換濾網,安裝快速,更換便利。

6、搭配室內更換專用無隔板高效空氣過濾器,過濾效率高、阻力低。
7、箱體外滿貼PEF保溫棉,保溫性能好。
8、特別適用于受土建高度限制或必須采用緊湊型設計時的潔凈室,大大節省空間。
9、逐臺激光掃描計數MPPS效率:95%-99.999995%(EN1822-4、5)。
10、過濾效率等級:H10、H11、H12、H13、H14、U15、U16、U17(EN1822-4、5)。

用途:可更換一體化高效送風口主要應用于潔凈等級從1萬級到100級的各種電子行業、醫藥行業、半導體行業、微電子行業等對空氣品質有要求的潔凈室場合。具有安裝容易,高效更換方便的特點。

安裝:可更換式一體化高效送風口可直接架在T型龍骨或直接和庫板相連接,安裝簡便、高效的更換可以在室內進行。
可更換式一體化高效送風口常用產品尺寸、規格、型號:

可更換式一體化高效送風口只是一體化高效送風口的一種,可前往了解更多一體化送風口:
推薦了解更多梓凈新型高效送風口產品資料:
各類送風口規格、型號、尺寸參考:高效送風口規格
]]>(可參考更多送風口產品分類:高效送風口)。
拋棄式一體化高效送風口產品特性:
1、通風性強;
2、重量輕、易安裝和更換;
3、100%全品出廠檢漏;
4、一體化設計,可帶保溫棉和安裝吊耳。
拋棄式一體化高效送風口用途:
主要應用于潔凈等級從1萬級到100級的各種電子行業、醫藥行業、半導體行業、微電子行業等對空氣品質有要求的場合。
拋棄式一體化高效送風口組成部分說明:

品名:拋棄式一體化高效送風口(拋棄式一體化高效過濾器);
濾料:超細玻璃纖維濾紙;
主箱體材質:鋁合金框;
主箱體蓋板:鍍鋅板;
密封物:雙組份聚胺脂膠;
分隔物:熱熔膠;
密封膠條:EVA密封條;
保溫棉、吊環附件可選。
拋棄式一體化高效送風口尺寸、相關參數及采購須知說明:

相關閱讀:高效過濾器送風口安裝注意事項
推薦了解(一體化高效送風口分類):
一體化高效送風口三種分類:
1、帶DOP檢測口拋棄式一體化高效送風口

2、可更換一體化高效送風口;

3、拋棄式一體化高效送風口;

推薦了解更多梓凈新型高效送風口產品資料:
各類送風口規格、型號、尺寸參考:高效送風口規格
]]>高效送風口規格|高效送風口型號|高效送風口尺寸主要分為新型、常規型、一體化、DOP液槽式四種。

四種高效送風口用途說明:
DOP液槽式高效送風口主要用于制藥行業,其它三種新型、常規型、一體化一般行業都可通用!
新型高效送風口規格|高效送風口型號|高效送風口尺寸:


推薦了解更多更詳細的高效送風口產品資料:
常規型高效送風口規格|高效送風口型號|高效送風口尺寸:


DOP液槽式高效送風口規格|高效送風口型號|高效送風口尺寸:


可更換一體化高效送風口規格|高效送風口型號|高效送風口尺寸:


新型高效送風口安裝的注意事項:
1、安裝前首先重要一點,高效送風口的尺寸效率要求,必須符合潔凈室現場設計要求和客戶應用標準。
2、安裝前需要清理清洗好產品和對潔凈室全方位的清掃清潔,如凈化空調系統中的灰塵,應進行清掃清除,需達到清潔要求標準才行
還有夾層或吊頂內也需要清潔,再次凈化空調系統必須試運轉連續運轉12小時以上,再一次清潔處理。
3、的安全運輸需嚴格按照生產廠家的標志說明方向等到,在運輸過程需輕拿輕放切忌劇烈振動和碰撞。
4、安裝前,需現場對送風口進行外觀檢查,內容包括濾紙、密封膠和框架有無損壞;邊長、對角線和厚度尺寸是否符合要求;框架有
無毛刺和銹斑(金屬框);有無產品合格證,技術性能是否符合設計要求。
5、進行檢漏,檢查和檢漏是否合格,安裝時應根據各臺送風口的阻力大小進行合理調配。
6、潔凈室內需要安裝高效送風口的風口翻邊和吊頂板之間的接縫施行密封墊處理,記住有裂縫的地方必須嚴格處理好。
忌高效送風口損壞或涂層破損不得進行安裝,高效送風口安裝和風管必須嚴格連接好,開口端用塑料薄膜和膠帶加固密封處理。
以上的六個注意事項我們必須細心遵守稍有不對,是直接影響整個潔凈室潔凈標準,友情提示:企業購買需要選對整個產品設計生產安裝實力的凈化設
備廠家。
為了能讓大家正確理解高效送風口風速、高效過濾器送風口風速相關概念及理論,為此我們查閱了很多資料和我們撐據的相關技術展現出來,供潔凈室、無塵室使用者做參考。
首先介紹一下什么是高效送風口、高效過濾器送風口?
高效送風口(高效過濾器送風口)為千級、萬級、十萬級凈化空調系統較為理想的終端過濾裝置,可廣泛于醫藥、衛生、電子、化工等行業的凈化空調系統。高效送風口是用作改造和新建1000-300000級各級潔凈室的終端過濾裝置,是滿足凈化要求的關鍵設備。高效過濾器送風口包含靜壓箱,散流板,高效過濾器,與風管的接口可為頂接或側接。

高效送風口風速、高效過濾器送風口風速怎么計算?
u=Q/F*3600
說明:
u:指的是風速或面速,單位m/s;
Q:過濾器的額定風量或高效送風口風量;
F:過濾器的截面積;
3600指的是時間,也就是3600秒。
例:1000風量高效送風口風速為:u=1000/0.484*0.484*3600=約1.3m/s
(說明:1000風量高效送風口高效過濾器尺寸為W484*L484*80mm)
通過以上公式可以計算出高效送風口風速、高效過濾器送風口風速。
???計算高效送風口風速實際上也是計算高效過濾器風速,計算方法也可參考:高效過濾器風速

通過高效送風口風速計算公式得出的結果那么問題來了:
潔凈廠房設計規范GB 50073-2013 中潔凈室氣流流型和送風量規定并沒有說明高效送風口風速是多少,這里說明一點,高效送風口或高效過濾器送風口一般是用于非單向流的潔凈室,這個潔凈廠房設計規范GB 50073-2013也明確說了,這個根據不同行業的潔凈室而定,因為不同行業要求也不一樣。
所以有些行業新人也會有一些疑問,比如:

上面提問者講到的潔凈室風速0.2-0.6m/s,只是針對單向流的潔凈室(說明:2013年以后潔凈室風速要參考潔凈廠房設計規范GB 50073-2013標準執行),單向流潔凈室一般指100級潔凈室,送風天花頂部布滿高效過濾器,而非單向流潔凈室一般指1000級、10000級、10萬級、30萬級潔凈室。
另外根據我們多年的經驗高效送風口風速、高效過濾器送風口風速也有一些行業的參考標準,如圖:

各類送風口規格、型號、尺寸參考:高效送風口型號
相關閱讀:高效過濾器送風口安裝注意事項
]]>500、1000、1500風量新型高效送風口結構圖:

推薦了解更多更詳細的高效送風口產品資料:

各類送風口規格、型號、尺寸參考:高效送風口尺寸
相關閱讀:高效過濾器送風口安裝注意事項
推薦了解更多產品分類:高效送風口
]]>